Добро пожаловать в фотогалерею сайта Dirt.ru!

Экстремальный горный велосипед




Скоро
Нет событий в ближайшие 30 дней
все соревнования ›
Реклама










Домой :: Вход
Последние добавления :: Часто просматриваемые :: Лучшие по рейтингу :: Поиск

Главная > Железки > Интересные железки
Нажмите, чтобы посмотреть в полный размер
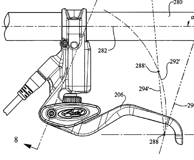
avid-xx
Типа один из вариантов, честно скажу маловероятный но возможный...
Necrokilldozer [Март 13, 2009 в 09:45 ]
вероятный но маловозможный
Aigo [Март 13, 2009 в 10:27 ]
чето строкер напоминает.
Shamen [Март 13, 2009 в 11:25 ]
этож круто!!! строкеры рулят!!!
TuneeeZ [Март 13, 2009 в 01:12 ]
очень надеюсь что авид не перейдет на эту конструкцию, внешне она убожественна
Portnoy [Март 13, 2009 в 02:58 ]
Magura)
paha [Март 13, 2009 в 05:22 ]
странно,но в превью ХХ не было таких ручек... :) 2TuneeeZ такая конструкция позволяет передать с курка большее усилие на поршень,да -не оч красиво но есть и свои плюсы
Mitrodont [Март 13, 2009 в 05:24 ]
ну нафиг..пусть авид остатёся в своём дизайне
NIghtN [Март 13, 2009 в 06:39 ]
Если останется такая же совместимость с переклюками, то фих с ним с дизайном. Строкеры приятнее.
Squibble [Март 13, 2009 в 07:24 ]
Строкеры и вот эта конструкция реально убога
Злодей в шляпе [Март 13, 2009 в 09:41 ]
Это начилось с Формулы, Хаес подхватил идею, а Авид и Хоуп подумывают о ее развитии...
woodpeker [Март 13, 2009 в 11:02 ]
Shimano ....
FPDen [Март 14, 2009 в 07:51 ]
а Магура хз скока делает такую конструкцию на всех своих моделях кроме Густав и Джулия и не парится)))))) хотя в 2002-2003 у густаватакая-же ручка была
Portnoy [Март 14, 2009 в 01:42 ]
Squibble, объясни, почему? на мой взгляд, очень удачная конструкция, которую Магура всю жизнь использует.
экономит много места на руле
Patrakoff [Март 14, 2009 в 02:45 ]
Portnoy а место на руль тебе штоб звоночек с катофоткой прекрутить???? эту конструкцыю если додумать, будет гуд, а щяс рацаны против
Gonzaless [Март 14, 2009 в 03:34 ]
А отдельно их продавать будут!?
paha [Март 14, 2009 в 06:22 ]
Patrakoff :просто иногда есть проблемы с установкой удобной комбинацией манетка-ручка тормоза
Patrakoff [Март 16, 2009 в 07:44 ]
paha я те дебил штоле какойто?? ясен хер, если подходит, то подходит, если нет, я не буду менять расстояние от манетки до ручки если не они не будут подходить друг другу. я куплю другую ручку или манетку
Tenevoi [Апр 06, 2009 в 02:49 ]
Рычаг ручки карбоновый ;)